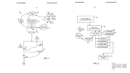
对于那些经常在魂类游戏里迷路或者在解谜环节把手柄搓出火星的玩家来说,索尼的一项最新专利或许将成为拯救血压的速效药。索尼互动娱乐近日提交了一项名为“AI幽灵”的技术专利,该技术能够通过神经网络深度学习并分析海量的通关录像,从而在玩家卡关时,生成一个智能化的虚拟向导来演示过关技巧。

这项黑科技不仅仅是一个高级攻略视频播放器,它更像是一个实时的“官方代打”。根据专利描述,这个AI辅助引擎被设计为系统级应用,它能根据当前玩家的处境,在屏幕上投射出一个可视化的“幽灵”角色。这个“幽灵”会直观地演示如何完成任务、击败BOSS或是解开复杂的机关。如果这项技术最终落地,未来的PS6玩家或许再也不需要一边打游戏一边掏出手机查攻略了。
目前业界普遍认为,这项技术是索尼为次世代主机PS6布局的关键一环。据悉,索尼正与AMD在芯片级AI算力上展开深度合作,旨在通过硬件层面的AI加速(NPU)来实现包括高级PlayStation光谱超级分辨率(PSSR)以及这种实时游戏辅助在内的多种功能。这不仅仅是画质的提升,更是游戏交互体验的一次维升。


当然,试图让AI教玩家打游戏的并不只有索尼一家,微软目前也在利用类似的MUSE AI生成技术训练游戏模型。不过,对于硬核玩家来说,这项功能或许会引发一种新的哲学思考:如果连BOSS战的走位都有AI手把手教,那“通关”的成就感还纯粹吗?但无论如何,对于想体验剧情却被难度劝退的“手残党”而言,这无疑是次世代最值得期待的“物理外挂”。